近日,佳能在日本公布RF 16-35mm F4、RF 20mm F2、RF 35mm F1.8、RF 35mm F2、RF 35mm F2.8、RF 45mm F2.8镜头专利,专利编号为2019-204115。截至目前,佳能RF卡口系统仅拥有一款非L级别定焦镜头:RF 35mm F1.8 MACRO IS STM。

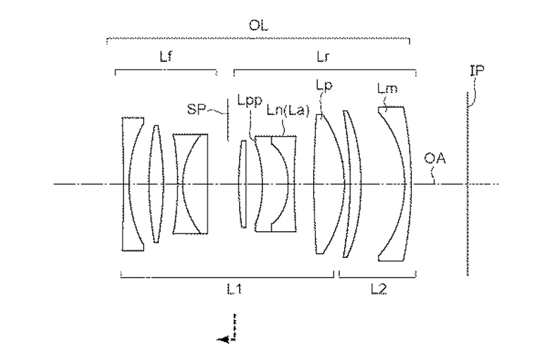
佳能RF 16-35mm F4镜头专利详情:
焦距:16.48 24.02 33.75mm
光圈:4.12
半画角:52.70 42.01 32.66
像高:21.64mm
镜头全长:117.64 109.16 110.13mm
后焦距:11.50 19.17 29.63mm
佳能RF 20mm F2镜头专利详情:
焦距:20.50mm
光圈:2.06
半画角:46.54
像高:21.64mm
镜头全长:90.13mm
后焦距:13.50mm
佳能RF 35mm F1.8镜头专利详情:
焦距:35.60mm
光圈:1.85
半画角:31.22
像高:21.64mm
镜头全长:81.87mm
后焦距:13.49mm
佳能RF 35mm F2镜头专利详情:
焦距:35.91mm
光圈:2.06
半画角:31.07
像高:21.64 mm
镜头全长:50.50mm
后焦距:15.05mm
佳能RF 35mm F2.8镜头专利详情:
焦距:35.70mm
光圈:2.88
半画角:31.22
像高:21.64mm
镜头全长:60.00mm
后焦距:13.15mm
佳能RF 45mm F2.8镜头专利详情:
焦距:44.70mm
光圈:2.85
半画角:25.83
像高:21.64mm
镜头全长:62.63mm
后焦距:13.13mm
更多摄影内容请登陆深圳摄影培训网址http://www.szyzsy.com。